- within Intellectual Property topic(s)
- in Asia
- within Transport topic(s)
This decision concerns an invention that relates to an electronic trading system.
Since the distinguishing features were considered non-technical, the EPO refused to grant a patent. Here are the practical takeaways from the decision T 1132/23 (Radioactive Waste Accomodation Method / Mitsubishi Heavy Industries Ltd.) July 9th, 2025, of the Technical Board of Appeal 3.4.01.
Key takeaways
In the absence of technical effects going beyond the normal interaction of the algorithm with the computer, the claimed subject-matter could not be considered inventive.
The invention
1. The invention concerns a radioactive waste accommodation method of obtaining a waste body by accommodating a plurality of waste pieces into a storage container.
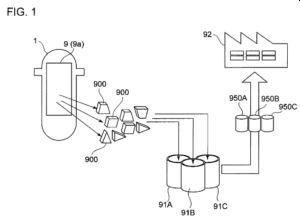
FIG. 1 is a diagram showing an overall flow of a method for processing radioactive waste. An accommodation condition for accommodating a plurality of waste pieces 900 obtained by cutting radioactive waste 9 into a storage container 91 (91A to 91C) is determined, and the waste pieces 900 are accommodated in the storage container 91 (91A to 91C) in accordance with the accommodation condition to obtain a waste body 950 (950A to 950C).

Fig. 1 of EP 3 300 083 A1
Claim 1 of the main request
"A computer-implemented container accommodation condition determination method of determining an accommodation condition for accommodating a plurality of waste pieces (900), obtained by cutting radioactive waste (9), into at least one storage container (91), for obtaining at least one waste body (950) by accommodating the plurality of waste pieces into the at least one storage container, the method comprising:
a step (S801 , S1205) of obtaining dose information of each of the plurality of waste pieces;
a step of, assuming, for each of a plurality of arrangement condition candidates (122) specifying the storage container (91) in which each of the waste pieces (900) is to be stored and an accommodation position inside the storage container (91), that the waste pieces (900) are arranged inside the storage container (91) in accordance with the arrangement condition candidate (122), and of selecting at least one of the arrangement condition candidates which satisfy a limiting condition required for the waste body in each of the storage containers;
a step (S806, S1210) of calculating a necessary storage container number which is the number of storage containers required to accommodate the plurality of waste pieces in accordance with the selected arrangement condition candidate (122); and
a step of specifying the arrangement condition candidate such that the necessary storage container number is minimum,
wherein the step of selecting the arrangement condition candidate includes
obtaining a surface dose rate of the waste body (950) in a case where each of the waste pieces is arranged at the accommodation position in the storage container specified by the arrangement condition candidate (122) on the basis of the dose information of each of the waste pieces (900), and
selecting the arrangement condition candidate (122) satisfying the limiting condition at least specifying that the surface dose rate of the waste body (950) is not higher than a threshold."
Is it technical?
The Board found the invention to involve technical means, since the method is defined as a "computer-implemented" method:
1. Claim 1 of present main request was amended during opposition proceedings with regard to claim 1 of the patent, so as to specify that what it defines is computer-implemented. The Board concurs with the Opposition Division, that amended claim 1 of the main request involves technical means and constitutes an invention in the meaning of Article 52(1) EPC. The same conclusion applies to claim 1 of auxiliary requests 1 to 4.
The opponent acknolwedges the involvement of technial means but denies that this affected the inherent nature of the method:
5. The opponent acknowledged that the amendment in the claim, specifying that the claimed method is "computer-implemented", established the technical nature of the invention, but underlined, under point VI of the statement of grounds, that this did not affect the inherent nature of the recited method steps which relate to mental activities.
It is to be decided whether the features can be considered as technical:
2. The absence, however, of clearly identifiable technical effects derivable from the claim that are achieved by the recited method steps, or derivable from their association, implies that the objective problem of minimising the number of containers needed to store the waste, that has been put forward by the patentee and accepted by the Opposition Division, is too specific since it does not apply over the whole ambit of the claim (see point 8 below).
3. Only the technical effects that are at least implied in the claims should be considered in the assessment of inventive step (cf. decision of the Enlarged Board of appeal G 1/19, OJ 2021, 77, Point 124).
The Board does not recard the features of the pending request to affect the internal functioning of the computer, which consitutes an exception for mathematical models:
4. The method of the various version of claim 1 of the pending requests does not affect the internal functioning of the computer on which it is run. Such implementations are also not addressed in the patent specification. The issue regarding inventive step thus depends on the determination of technical effects that go beyond this mere normal interaction between program and computer.
6. The approach developed by the boards of appeal regarding claims directed to a mix of technical and non-technical features is based on the decision in T 641/00 (COMVIK, OJ 2003, 352) which underlines the necessity, when assessing inventive step, to take account of all those features that contribute to the technical character of the invention, whether they are technical per se or not. Only non-technical features, as such, are ignored. The technical problem to be solved according to the problem-solution approach may be formulated using an aim in a non-technical field.
7. The recited method steps contribute in determining an optimised accommodation condition in terms of place and number of containers (see patent application, paragraph 0007). The problem addressed by the invention is technical. It corresponds to the problem addressed in documents D1a, D1b, and D3.
8. The objective problem identified by the Opposition Division was, hence, to provide an alternative method for minimising the number of required containers for accommodation of the waste pieces.
10. In the absence, however, in claim 1 of the proprietor's request, of any reference to a specific use of the obtained data, (i.e. the necessary storage container number, the specification of the arrangement condition candidate, the surface dose rate of the waste body..., the objective problem to be solved needs to be defined in more general terms than those suggested by the proprietor and opposition Division for the disclosed invention and its various embodiments (cf. decisions of the Enlarged Board of appeal G 2/03, OJ 2004, 448, point 2.5.2; G 1/19, OJ 2021, 77, point 82, with reference in both decisions to decision T 939/92, OJ 1996, 309). The possible uses of the obtained data regarding the accommodation conditions might well encompass non-technical purposes. This might include, for example, providing the documentation required for administrative authorisations regarding the respect of legal or technical specifications or guidelines as to the storing and transport of waste. The claimed method might also encompass tests for IT experts, asked to elaborate the most efficient algorithm for the task or to compare the performance of computers on which such algorithms are run.
11. Even though the effects relied upon are based on technical considerations, no technical effects other than those resulting from the program running on the computer, namely calculating the necessary storage container number or the arrangement condition candidate and the surface dose rate of the waste body, can be derived from the claim language. In the absence of technical effects going beyond the normal interaction of the algorithm with the computer, the claimed subject-matter cannot be considered inventive.
As a result, the Board came to the conclusion that, in the absense of a specific use of the obtained data, the claimed subject-matter cannot be considered inventive. The same applies to the remaining requests. Thus, the appeal was dismissed.
More information
The decision can be found here: T 1132/23 (Radioactive Waste Accomodation Method / Mitsubishi Heavy Industries Ltd.) July 9th, 2025, of the Technical Board of Appeal 3.4.01.
The content of this article is intended to provide a general guide to the subject matter. Specialist advice should be sought about your specific circumstances.