- within Intellectual Property topic(s)
In the toy and stationery industry, innovation rarely takes the form of breakthrough technology. More often it is a seemingly simple design solution, a new way of connecting elements, a feature that supports user development or an improvement that reduces the cost of production or facilitates sales. However, the data from the Patent Office of the Republic of Poland clearly indicate that these seemingly inconspicuous elements are increasingly becoming the subject of patent applications. For companies that are thinking about scaling sales or licensing their products, the patent ceases to be a legal document and begins to act as a business tool.
The patent document protects the technical solution, i.e. the mechanics, principle of operation or method of production, and not the appearance of the product itself. This may concern, for example, a system of connecting elements, magnetic functions, a mechanism increasing safety, a method of assembling a toy or its educational or therapeutic function. The patent document gives the widest protection because it blocks the competition from copying the technical idea itself, even if it tries to change the form or design of the toy.
The utility model in toys secures a practical design solution that improves the functionality of the product, but it does not have to be an advanced technology. It is often the right choice for innovations such as a new shape of the block for easy assembly, a safe housing of magnetic elements or a modular structure allowing for expansion of the set.
An industrial design, on the other hand, protects the external appearance of the toy, i.e. the shape, lines, colours and proportions that influence the purchase decision of the child and parent. In the toy industry, it is a key tool for protection against visual copying of popular products, especially in the retail and seasonal segment, which allows to maintain its recognition on the store shelf.
To sum up, the patent document protects the technical elements, the utility model allows you to monopolize the structure, and the industrial design provides protection for the external appearance. In practice, an effective protection strategy in the toy industry is to consciously choose or combine these tools depending on where the value of the product really comes from.
Examples of innovations that build the market value of products
Although the toy and stationery industry is primarily associated with the design and emotions associated with the use of the product, the analysis of patent applications shows a completely different, less visible side of this market. Behind seemingly simple toys, there are often technical solutions that determine their safety, durability, functionality and sales attractiveness. It is these elements that more and more often become the subject of patent protection.
The list of selected inventions filed with the Patent Office of the Republic of Poland after 2015 shows that patents in this industry do not concern the idea of a toy as such, but specific mechanisms, processes and functions that translate into a real market advantage.
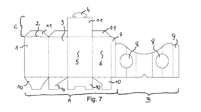
For example, methods of joining structural elements of plastic toys may be protected (Patent Application No. P.434743 of 2020). The answer to the question of how to combine elements in a permanent way, safe for the child, and at the same time enabling multiple folding and unfolding of the product may become the subject of a monopoly on the market. Properly prepared documentation of the invention, describing the principle of joining, secures the entire product family for its owner, not just one model.
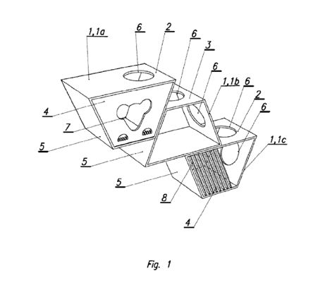
Another example of the invention described in patent No. PL 244440 of 2019 is a magnetic block with a spherical shape, made of a wooden housing with a neodymium magnet permanently closed inside, designed for safe play and therapeutic applications for children. Thanks to its larger dimensions, friendly wood texture and the possibility of combining in many spatial configurations, the solution combines high safety of use with wide educational and sensory potential.
A less obvious example of a patented solution is the packaging, which can sometimes influence a purchasing decision more strongly than the product itself. Effective display on the shelf is therefore not only a matter of graphics or marketing, but also a well-thought-out technical design. The application No. P.422772 describes a packaging designed to simultaneously store the main product, e.g. sweets, and clearly display the promotional element in the form of a toy or mascot. Thanks to the division into a closed storage chamber and an open display part, the invention increases the visibility of the additive on the store shelf, which directly translates into an increase in customer interest and sales of the product.


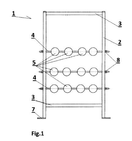
An interesting solution is described in the description of the utility model No. PL 73690 Y1 from 2020, which presents a wall toy for a cat that can be attached to the wall. The toy is designed as a modular wall-mounted system that allows the cat to climb, walk between elements and play without taking up space on the floor, which is important in living conditions. At the same time, the design based on repetitive, trapezoidal modules allows for easy expansion of the set and low production costs, making this utility model an example of innovation in which functionality, ergonomics and market potential go hand in hand.

The 2018 Utility Model Application No. W.127329 describes a set of half spherical elements equipped with holes and connecting elements that allow them to be twisted, threaded and assembled into different spatial configurations. The construction supports the development of small motor skills, hand-eye coordination and cognitive abilities, while maintaining high safety standards by limiting the number of small, easy to swallow elements. From the point of view of the market, this is an example of a toy that "grows with the child", can be used at various stages of development and thus has a longer product life cycle and greater sales potential than single-functional educational toys.

Finally, a curiosity (because toys are rarely associated with agriculture). The analysis of patent applications shows that also in this sector, innovations can have a real impact on the efficiency and welfare of farm animals. An example is the patented toy for piglets and piglets (patent no. PL234773 of 2018), designed not as a gadget, but as an element of the pen's equipment reducing stress and aggression, and thus supporting modern animal breeding standards.

Market trends that increase the importance of IP protection
The modern toy market is increasingly based on solutions that combine the traditional form of the product with technology and digital elements such as applications, interactivity or integration with platforms. At the same time, the importance of the user experience is growing, toys are designed to give the opportunity to personalize, adjust to age, interests and stage of development, not just a one-time game.
Educational values play an increasing role, which make the product perform a developmental function and is perceived as a conscious choice, and not only a form of entertainment. STEAM toys are not a fashion, but a growing part of the market where science and technology combine with creative play.
At the same time, consumers pay more attention to ecological issues, material durability and design with a view to a longer product life cycle, which is in line with the trend of sustainable development.
A significant change on the market is also the dynamic growth of the kidults segment, i.e. adults buying toys for themselves. This segment includes, among others, collectible, educational, creative products, characterized by higher quality of workmanship, longer use. For manufacturers, this means shifting the focus from seasonal sales to building a lasting relationship with the customer.
The model of commercialization of products is also developing, in addition to classic sales, models based on licensing or subscriptions (periodically released new modules or educational challenges) are increasingly important. Each of these trends creates space for innovation that can be effectively protected not only by appearance or brand, but above all by the principle of operation, design and actual usable effect of the product.
How to assess the potential of an innovation before its market disclosure
The assessment of innovation potential in the toy industry rarely starts with the question of whether something is new in a technical sense. More often, it starts with checking whether a given solution really changes the way the product is used or solves a problem that customers or manufacturers have had so far.
If the toy is safer, more durable, easier to assemble, more intuitive to use or gives a new educational experience, it is a signal that we are dealing with an innovation, not just a variant of a well-known product. An important criterion is also whether the market advantage can result from the function or only from the appearance.
Design can be copied relatively quickly, while mechanics, the way of connecting elements, the logic of modularity or the manufacturing process are much more difficult to bypass. If the competition, in order to obtain a comparable technical effect, would have to change the principle of operation of the product, and not only its form, we are dealing with a technical solution that may be the subject of patent protection.
The most common mistakes companies make when protecting innovation
One of the most common pitfalls is recognizing the value of innovation too late. Many companies decide on protection only after the product launch, participation in a trade fair or the start of online sales. This often means losing the opportunity to effectively secure your solutions and giving up some of the competitive advantage before the product can develop in the market for good.
The second common mistake is to focus only on the appearance of the product in a situation where the advantage of the solution is created by the technical rather than aesthetic aspect. As a result, competitors can introduce a product with similar functionality, changing only its visual form. Lack of proper protection and combination of design protection with protection of technical solutions leads to a situation in which the company formally has rights but loses its advantage on the market.
Sometimes the problem is also to define innovation too narrowly. Entries limited to one specific product variant often do not keep up with the development of the offer and allow for easy circumvention by competitors. Innovation, which does not take into account potential modifications and extensions, quickly ceases to be an effective protection tool, especially in an industry with high dynamics of change.
Another trap is the lack of a coherent strategy, in which different forms of protection function simultaneously, but independently of each other. In practice, this leads to a situation where the trademark, industrial design and possible patent do not form a common system of product protection. Without such an approach, the company protects the fragments of the solution, instead of its actual market value.
Finally, it is a common mistake to treat the protection of industrial property as an administrative cost rather than part of a development strategy. Meanwhile, ill-considered or late protection usually means not so much legal problems as lost opportunities to build a long-term market position.
The most effective way to avoid the described pitfalls is to include a patent attorney at an early stage of work on the product. In this process, the Patent attorney acts as an external innovation filter, which helps to assess which elements of the solution actually create a market advantage and how it is worth securing them before they are disclosed to competitors.
Having patent documents in the toy and stationery industry is not a matter of prestige or formality, but of an informed business decision. They allow you to protect what is most valuable in the product, i.e. the way it works, its design and function. They also give greater credibility in relations with retail chains, partners and investors and open the way to licensing and scaling solutions without having to compete only on price. They also allow to organize the development of the product portfolio in the longer term because the patent document determines a stable technological core around which subsequent variants, lines and generations of products can be designed. Instead of creating individual, separate solutions for each season, the company can consistently develop a series based on the same protected principle of operation, differentiating products by function, scale, age group or level of advancement.
The content of this article is intended to provide a general guide to the subject matter. Specialist advice should be sought about your specific circumstances.