- within Consumer Protection topic(s)
今天想和大家探讨一下国家知识产权局商标局在商标审查和审理过程中出镜率蛮高的两个原则,"统一审查标准"和"个案审查原则"。中国不是判例法国家,因此在先判例是没有当然的法的渊源效力的。但是商标权等知识产权因其属于私权利,是属于民商法领域的。既然属于民商法领域,那么法的渊源就会宽得多,因此在司法实践中在先判例也常常被拿来参考和引用。商标的行政审查阶段也是如此。
几乎每一位商标代理人都有一本原国家工商行政管理总局签发的《商标审查及审理标准》,该标准是供商标局、商标审查协作中心等审查人员在商标审查及商标案件审理时执行的统一标准,里面详尽列举了商标行政审查和审理的规范和原则,对商标代理人而言,也是具有重大的指导意义的。
初做代理人时,这本书可谓一本"葵花宝典",在办案实践中,把自己手头遇到的商标情形拿去书中一比对,嗬!基本上这本书就会给你答案。
这其实就是"统一审查标准"在实践中的具体运用——我的案子和《标准》中举得例子很类似,那么根据"统一审查标准"的原则,我的案子应该得到类似的裁定。这没问题。
由此,我们渐渐地扩大了在先判例的范围——不仅仅引用《标准》上的例子,还把实践办案中赢的案例一并引用进来,但是等我们拿到官方决定时,却发现官方有时采纳,有时一句"商标的审查遵循个案审查原则",便把我们之前的引用统统否决。
这是为何?不是"统一审查标准"吗?难道标准变了吗?非也。
审查标准依然是统一的,但是每一个案件的申请人、商品、申请人主观意图、时代特点、国际环境却是千变万化的,我们不能忽略个案的特殊性,像提取公因式一样仅仅提取案件中很片面的一部分情况去套用审查标准,试图适用"统一的审查标准",而将其他因素统统抛开,那此时"个案审查原则"就要亮出红牌了。
这其实不难理解,举个例子:
上海温实初实业有限公司和上海久安广告有限公司于2017年11月前后相差2天,申请了同样一枚商标"usann":

图片来源:康信IP平台
最后的结果是上海温实初实业有限公司的商标得以顺利注册,但是上海久安广告有限公司的3枚商标均以绝对理由被驳回。
看到这个结果你的第一反应是不是想该商标是因为其含有美国国名"USA"而被驳回?审查标准是不是有点严?那么根据统一的审查标准,上海温实初实业有限公司也当然会因相同的理由驳回,但是为什么顺利注册了呢?审查标准不统一了?
其实事实不是这样的,审查标准依然是统一的,只是个案情况是特别的,因此结论是不同的。
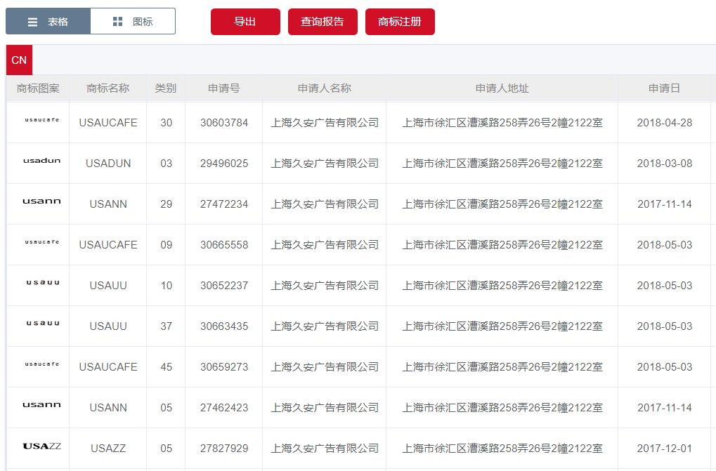
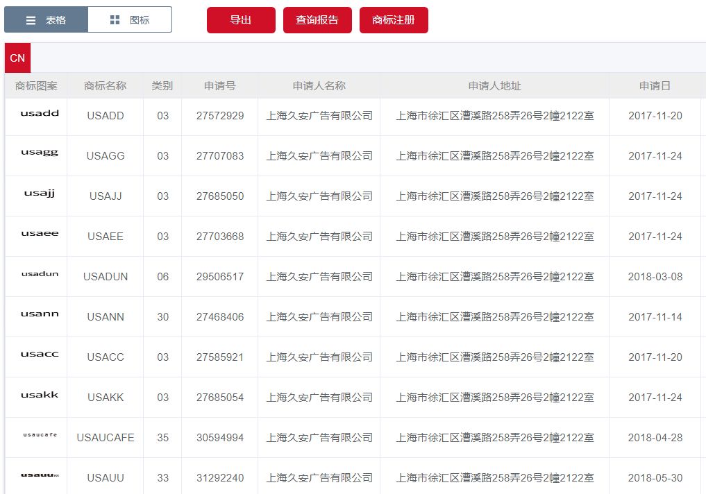
我们来看看上海久安广告有限公司的"神操作":


图片来源:康信IP平台
由上图可见,上海久安广告有限公司孜孜不倦地申请着"USA"系列商标,因此审查员认为其行为难谓正当,从而全部驳回了上述申请。而上海温实初实业有限公司则没有上述操作,因此其商标得以顺利通过。
看!"月亮还是那个月亮,人已不是那个人",审查标准还是那个审查标准,申请人的主观意图就各不相同了,官方在适用统一的审查标准的同时,还会充分考虑到个案的特殊性。单看一枚商标似乎得不出正确结论,但是综合申请人的主观意图来看,答案其实清晰明了。影响商标能否注册成功的因素还有很多。
想要避开商标注册申请误区,提高商标注册成功率,您可以进入康信IP平台,申请商标"查询报告"。

在收到申请后1个工作日内,会有经验丰富的商标代理人为您出具详细的《商标查询报告》,包括对商标显著性、在先权利冲突等影响商标注册的潜在因素进行分析和建议,帮您提高商标注册成功率! 康信IP平台基于康信在知识产权行业27年积累的丰富实践经验,从商标查询、注册、变更、转让、续展,到公告监控、异议、撤三、网络侵权监控、统计分析、商标地图等功能全覆盖,能够为您提供全球知识产权智能自助一站式解决方案!
The content of this article is intended to provide a general guide to the subject matter. Specialist advice should be sought about your specific circumstances.
[View Source]